电捕焦油器绝缘箱的作用原理-河北古瑞得环保

河北古瑞得
热线电话
13127337163
13722731800
热门点击: 电捕焦油器|脉冲袋式除尘器|矿山布袋单机除尘器|滤筒除尘器|水喷淋塔废气净化器|LS型螺旋输送机|输送设备|锅炉布袋除尘器|埋刮板输送机|

电捕焦油器绝缘箱的作用原理

来源:乐发Vll 发布时间:2021/12/18 18:54:01
电捕焦油器绝缘箱的作用是起高压电绝缘,吊起固定吊架,便于电晕极的安装。绝缘箱内部含瓷瓶又叫绝缘子。如果您遇到绝缘箱或瓷瓶出现问题,欢迎来电咨询。
电捕焦油器绝缘箱的作用原理
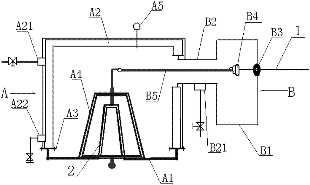
电捕焦油器利用高压直流电场的作用分离焦油雾滴和煤气,电捕焦油器主要由筒体、 沉淀极、电晕电极、电气绝缘箱等。绝缘箱位于筒体顶部,悬吊电晕电极。绝缘箱包括绝缘箱本体、与本体连通的惰性气体管道,内含高压瓷瓶:用于固定吊柱,而吊柱用于悬吊电晕电极。
电捕焦油器 
电捕焦油器的瓷瓶表面温度低于10度会结露,绝缘子的耐压性降低,容易产生击穿现象引起瓷瓶爆裂,耐压性越来越低,终无法使用,所以将瓷瓶的外壁温度大于10度左右,才不至造成凝露。热风箱设置为环形结构,其内侧通过热风出口与连通管的内部相互连通。瓷瓶通过密封垫圈和连通管的顶部密封连接,密封垫圈使用防高温材质。热风箱吹出热风风面隔断进入绝缘箱中的含尘湿烟气,绝缘箱内环境干燥且干净,湿气难在瓷瓶上产生凝露,既安全又节能。
电捕焦油器绝缘箱电捕焦油器瓷瓶绝缘子
目前绝缘箱的绝缘设置较多,但是普遍成本较高,热风能耗较高,长时间使用成本较高,且存在些安全隐患。一些新型的绝缘箱解决了这些问题,可形成多级保护的结构,有效保持绝缘保温箱内部阴极吊挂支撑瓷瓶的清洁,防止阴极吊挂支撑瓷瓶爬电被击穿,大幅减少了阴极吊挂支撑瓷瓶的日常清洁频率及设备安全隐患,提高电捕焦油器的运行工作效率。另外一些新型电捕焦油器绝缘箱装置自力式调节阀为阀后型。该自力式调节阀能使阀后的压力值保持恒定,从而减小了高压瓷瓶周围的管网压力波动,进而减小了高压瓷瓶的变应力,延长了高压瓷瓶的使用寿命。
乐发Vll简介|产品目录|除尘器|电捕焦油器|废气处理设备|工程案例|采购指南|产品资讯|联系方式| 网站地图
公司名称:乐发Vll 公司地址:河北省沧州市泊头市齐桥镇李码头村 电话:0317-8315215 传真:0317-8315215  
手机:13127337163 网址:http://www.mdsmf.com 
乐发Vll 2011(C)版权所有 并对网站所有内容保留解释权 冀ICP备2021024158号-1 

冀公网安备13098102000620 号

PowerBy:速贝·网搜宝 网站建设:中科四方 技术支持:速贝微博